Robotický vysavač vypadal ještě nedávno jako proprieta ze sci-fi filmu. Moderní systémy toho zvládnou opravdu hodně: perfektně se orientují v prostoru, poznají, kdy nejsme doma a kdy je potřeba uklízet. Jenže všechny mají jedno společné – potřebují perfektně bezbariérový byt.

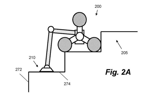
Jakmile se někde objeví schody, je to pro ně konečná, alespoň že mají senzory proti pádu. V tomto kontextu ale vypadá velice zajímavě patent předního výrobce vysavačů, kterým je firma Dyson. Na patentovou přihlášku podanou ve Spojeném království upozornil bloomberg.com. Na nákresu je patrný robot se třemi koly, který pomocí dlouhé paže zdolává schody. Pokud by se je robotické vysavače skutečně naučily zdolávat, pak by to zcela jistě byla průlomová funkce.

Druhý patent působí o něco obecněji a ukazuje robotickou ruku, jak provádí různé činnosti, jako je například otevírání šuplíků. Nejzajímavěji působí asi nákres, na kterém svírá předmět podobný hrnku. Pokud by opravdu uměl vozit svému majiteli do postele kávu, pak by to bylo opravdová „killer feature“. Bloomberg nicméně upozorňuje, že ne každý patent musí nutně znamenat konkrétní výrobek. Obzvláště Dyson je proslulý hodně odvážnými nápady, jako jsou tato sluchátka kombinovaná s čističkou vzduchu.