Toyota si nechala patentovat nový návrh létajícího automobilu – dronu, jehož kola mohou plnit funkci vrtulí. Automobil má mít elektropohon napájený bateriemi nebo palivovými články. Návrh vytvořila Toyota Engineering and Manufacturing North America.

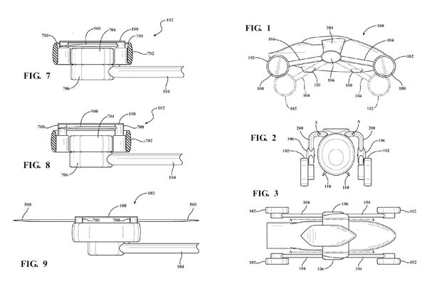
Patentovaný vynález nese označení „vůz s dvojím režimem provozu, kola pro vozidla a metoda přechodu z pozemního do vzdušného režimu“. Návrh popisuje vozidlo na kolech, které je vybaveno speciálním zavěšením. Kola upevněná na dlouhých vahadlech mohou ve vertikální pozici fungovat klasicky: jako u obyčejného automobilu, anebo v pozici horizontální vystupovat mimo obrys karosérie. V tom případě se z kol vysunou vrtule, jež se otáčejí dostatečně rychle na to, aby vynesly vůz do vzduchu.
Toyota vymyslela kolo a vrtule v jednom, poháněné samostatným elektromotorem napájeným baterií, generátorem s plynovou turbínou nebo vodíkovým palivovým článkem. V návrhu se dočteme, že funkci zdroje napájení může vykonávat v podstatě jakékoli zařízení dodávající energii, jež je dostatečně výkonné pro daný účel. Toyota bere v úvahu možnost, že se v pozemním režimu bude automobil ovládat změnou otáčkové rychlosti levých nebo pravých kol. Tento systém řízení v současné době využívají stavební stroje nebo tanky.